Mounting
BinloopX is designed to mount in a standard 19" equipment rack and utilize 3RU of vertical space.
Since the BinloopX can weigh up to 36lbs (16.3kg), rear mount brackets are also included in the box to provide the option of additional support. These brackets are designed to slide into the sides of the BinloopX so that they can be easily adjusted from 18"-48" to reach the rear mounts of the equipment rack.

Before you install these rails, start by measuring the rail-to-rail depth of your equipment rack.

Skip ahead to the section that matches the depth of your rack for detailed instructions on installing the rack mount kit.
Important! -- Installation Note:
Since the BinloopX modules are rear-access only, it is advisable to take device spacing into account when placing units into an equipment rack.
It is recommended that the BinloopX units have 1RU of space above / below each unit to allow for module access, as well as lacer bars to be placed in this area for cable management to prevent obstructing access to the modules (see images below).


Additional considerations should be made when locating vertical cable chases and power distribution, as this may impede the removal on BinloopX modules and BX-CON1 controller units.
Rack Depth 18" to 32"
-
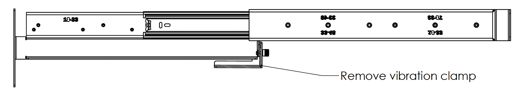
Remove the vibration clamps as indicated below:

-
Extend the brackets over the front and rear rack rails, and mount:

-
Slide the BinloopX chassis onto the plastic rails of mounting bracket:

-
Install screws on the front rack ears of the BinloopX:

-
Optional: If the racks will be transported or will experience vibrations in the installation, we recommend installing vibration clamps:

Rack Depth 32" to 48"
-
Remove the (5) screws from the slide rail as indicated below:

-
Reposition the slide to the "33-48" position and reinstall the (5) screws as shown below:

-
Remove the vibration clamps as indicated below:

-
Extend the brackets over the front and rear rack rails, and mount:

-
Slide the BinloopX chassis onto the plastic rails of mounting bracket:

-
Install screws on the front rack ears of the BinloopX:

-
Optional: If the racks will be transported or will experience vibrations in the installation, we recommend installing vibration clamps:
